Təhlükəsiz Bərkitmə Altıbucaqlı bolt qablaşdırma onları mütəşəkkil saxlamaq və zədələnmənin qarşısını almaq üçün nəzərdə tutulmuşdur. Bu qablaşdırma qutuları yuvaları olan yumşaq astarla gəlir. Boltlar baş-başa oturur, buna görə də hər altıbucaqlı boltlar yerində qalır. Bu, onları tez seçib yerləşdirir və göndərmə zamanı hər hansı cızıqların qarşısını alır. Toplu daşınma üçün altıbucaqlı boltlar tez-tez çantaya 500 ədəd qablaşdırılır. Sonra bu çantalar yükü sabit saxlamaq üçün daxili qutulara və möhkəmləndirilmiş taxta qutulara qoyulur. Kritik sənayelər üçün yüksək keyfiyyətli qablaşdırma variantları ciddi hərbi standartlara cavab verə bilər. Bura saxlama və daşınma zamanı boltları korroziyadan qoruyan möhürlənmiş, yağ keçirməyən və suya davamlı çantalar daxil ola bilər.
Altıbucaqlı boltdakı qiymət onun gücünü göstərir. Bu dərəcəli işarələr asanlıqla tanınması üçün boltların başlarındadır. Ümumi ISO qiymətlərinə 4.6, 8.8, 10.9 və 12.9 daxildir. 8.8-ci dərəcəli ümumi orta möhkəmlikli boltlar, 10.9 və 12.9 isə yüksək möhkəmliyə malikdir və avtomobillər və tikinti kimi tələbkar sahələrdə istifadə olunur. A307 və A325 kimi ASTM standartları da boltun performansını müəyyən edir. Təhlükəsiz bərkidici altıbucaqlı boltun seçilməsi təhlükəsizliyin açarıdır, çünki bu, boltun yükü nasazlıq olmadan idarə edə bilməsini təmin edir.
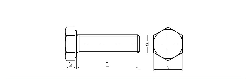
| mm | |||||||
| d | S | k | d | Mövzu | |||
| maks | min | maks | min | maks | min | ||
| M3 | 5.32 | 5.5 | 1.87 | 2.12 | 2.87 | 2.98 | 0.5 |
| M4 | 6.78 | 7 | 2.67 | 2.92 | 3.83 | 3.98 | 0.7 |
| M5 | 7.78 | 8 | 3.35 | 3.65 | 4.82 | 4.97 | 0.8 |
| M6 | 9.78 | 10 | 3.85 | 4.14 | 5.79 | 5.97 | 1 |
| M8 | 12.73 | 13 | 5.15 | 5.45 | 7.76 | 7.97 | 1.25 |
| M10 | 15.73 | 16 | 6.22 | 6.58 | 9.73 | 9.96 | 1.5 |
| M12 | 17.73 | 18 | 7.32 | 7.68 | 11.7 | 11.96 | 1.75 |
| M14 | 20.67 | 21 | 8.62 | 8.98 | 13.68 | 13.96 | 2 |
| M16 | 23.67 | 24 | 9.82 | 10.18 | 15.68 | 15.96 | 2 |
| M18 | 26.67 | 27 | 11.28 | 11.7 | 17.62 | 17.95 | 2.5 |
| M20 | 29.67 | 30 | 12.28 | 12.71 | 19.62 | 19.95 | 2.5 |
Təhlükəsiz bərkidici altıbucaqlı boltlar üçün materialın tərkibini və korroziyadan qorunma variantlarını izah edə bilərsinizmi?
Biz altıbucaqlı boltlarımızı aşağı karbonlu polad, daha güclü lehimli polad və paslanmayan polad (A2-304 və A4-316) kimi müxtəlif materiallarda istehsal edirik. Pasdan qorunmaq üçün biz elektrosinklənmiş sink, isti daldırma sinkləmə və Dacromet kimi örtükləri təklif edirik. Düzgün örtüyü seçmək, boltun nə qədər davam edəcəyini, xüsusən də tikinti sahələri və ya dənizə yaxın ərazilər kimi çətin yerlərdə vacibdir.
